Индукционная варочная панель с вытяжкой Miele KMDA 7634 FR

Посмотреть технику в фирменном шоуруме Москва, Мичуринский проспект, 58к1, ТЦ «Любимый», 2 этаж Перейти
Доставка от 3 дней
Код товара: 150238019
344 500 руб.
* Цена на момент последней продажи
** В МАГАЗИНЕ ДЕШЕВЛЕ
Уникальные индивидуальные
условия при посещении магазина
Оплата наличными курьеру после принятия товара.
Оплата банковской картой при доставке или онлайн на сайте.
Безналичный расчет с физическими и юридическими лицами через любой удобный банк.
Быстрая доставка
Доставка до подъезда в оговоренные сроки после предварительного согласования с оператором.
Подробнее
Профессиональная установка
Подключение на готовые коммуникации мастерами авторизованного сервисного центра.
Подробнее
Бесплатное хранение
Оплатите сейчас — заберите, когда удобно. Бесплатное хранение до 180 дней.
Подробнее
Возможен самовывоз

Пункт самовывоза находится по адресу: МКАД, 47-й километр, 5с2. Забрать товар самостоятельно можно только после согласования с менеджером времени и оплаты. Подробнее

Посмотреть технику в фирменном шоуруме
Москва, Мичуринский проспект, 58к1, ТЦ «Любимый», 2 этаж
Перейти
ВСЕ ПРИЧИНЫ ДОВЕРЯТЬ HAUSDORF

Характеристики

Габариты (ВхШхГ), см: 20.1х80.6х52.6
Установка: Независимая
Общее количество конфорок: 4
Панель конфорок: Стеклокерамика
Цвет : Черный
Тип управления: Электронное
Вид: Индукционная

Особенности

Индукционная технология PowerFlex
Индукционная технология PowerFlex – оригинальная разработка Miele для варочных панелей, которая позволяет объединить две или более зоны нагрева в одну общую зону высокой мощности со свободным размещением посуды и единым управлением.
Функция TwinBooster
Функция TwinBooster позволяет сократить время приготовления, так как направляет в выбранную зону нагрева мощность двух соседних зон. Увеличенная мощность гарантирует быстрый нагрев и закипание, затем функция отключается автоматически.
Автоматическое выключение
Автоматическое выключение делает использование варочной панели намного удобнее и безопаснее. Если температура внутри конфорки достигнет критически высокой отметки, система самостоятельно выключает варочную панель, а после того как температура станет ниже — активирует процесс работы обратно.
Автоматическое определение наличия и диаметра посуды
Благодаря этой функции нагрев индукционной варочной панели начинается только тогда, когда подходящая посуда стоит на конфорке: он не включится, если кастрюля или сковородка имеет неправильный размер или материал, и автоматически выключится, когда посуда снята с плиты. Такая опция позволяет не расходовать энергию зря, а также защищает столовые приборы, прихватки и другие предметы, которые могут случайно оказаться на поверхности.
Блокировка управления от детей
Блокировка управления от детей защищает поверхность от нежелательных касаний. Система блокирует настройки, поэтому работающий прибор не представляет опасности для любопытных деток.
Цифровой дисплей
Цифровой дисплей делает работу с варочной панелью намного комфортнее и удобнее. Вся информация о выбранных настройках и режимах высвечивается на экране, поэтому вы всегда сможете контролировать процесс приготовления.
Класс энергопотребления A++
Высокая ступень энергоэффективности. Данная маркировка значит, что варочная панель даже при использовании программ повышенной мощности расходует немного электричества.
Функция поддержания тепла
Функция поддержания тепла позволяет блюду сохранять температуру после готовности. Подойдет для медленного приготовления пищи или поддержания нужного уровня готовности. В зависимости от модели может работать на одной или нескольких зонах нагрева.
Функция Stop&Go
Позволяет отключить нагрев на короткое время, сохранив при этом все параметры приготовления. Благодаря этой функции вы можете отлучиться в среднем на 10 минут, а затем возобновить работу панели с теми же настройками. Если за необходимое время вы не снимете «паузу», то прибор просто отключится.
Защита от перегрева
Защита от перегрева является функцией безопасности варочных панелей. Она автоматически определяет текущую температуру и фиксирует, если она превышена. В случае перегрева система самостоятельно отключает варочную поверхность и возобновляет работу в прежнем режиме, после того как техника остынет.
FlexZone
FlexZone — свободная зона при которой нагрев осуществляется только в том месте, где посуда соприкасается с поверхностью. Все тепло передается не самому прибору, а непосредственно посуде.
Индикатор остаточного тепла
Индикатор остаточного тепла обеспечивает безопасность использования прибора, а также экономит потребляемую электроэнергию. Система продолжает работать до тех пор, пока температура не достигнет безопасного уровня. 
Управление Touch Control
Управление Touch Control позволяет полностью контролировать работу прибора. С помощью простых прикосновений можно настраивать и выбирать необходимые функции.
Автоматика закипания
Режим, временно увеличивающий мощность конфорки. Данная функция помогает быстрее довести жидкости до кипения. После достижения 100 градусов, мощность падает.
Встроенная система охлаждения
Интенсивный режим потребляет больше мощности и усиливается выделение тепла. Благодаря встроенной системе охлаждения можно использовать варочную панель дольше, не опасаясь, что она выйдет из строя.
Функция re-Start
После неожиданного выключения панели функция re-Start восстанавливает все настройки одним нажатием. Воспользоваться режимом можно будет в течении ограниченного времени.

Описание

Варочная панель работает на индукционном нагреве — это значит, что повышается температура непосредственно посуды, в которой готовится блюдо. Таким образом промежуточная ступень с предварительным нагревом конфорки пропускается — сокращается время, повышается безопасность. Количество конфорок в этой модели: 4.

Особенности панели конфорок, на которые стоит обратить внимание: Induction, FlexZone. Некоторые конфорки можно использовать не только по отдельности, но и как общее пространство, внутри которого расставлять посуду, как вам удобно.

Цвет — черный. Благодаря рамке она отделена от рабочей зоны и прочнее закреплена на столешнице. Материал самой поверхности: стеклокерамика. Управление этой моделью электронное. Для переключения уровней нагрева, выбора функций используются следующие переключатели: сенсорные/TouchControl. Продвинутая система контроля за прибором делают его современным и отвечающим на главные запросы покупателя.

В вашем распоряжении разные степени нагрева — каждая из них может понадобиться в зависимости от рецепта, а также от цели: приготовления, разогрева уже готовых блюд и т.д. Регулировка 9-ступенчатая. Благодаря специальной опции Power можно не устанавливать максимальную температуру, так как потом придется вовремя ее менять вручную. В этом режиме мощность сама подскакивает до предельных значений, но на короткое время, а затем также автоматически возвращается к прежним настройкам. Вы можете поставить нагрев на паузу тоже на небольшой промежуток времени, если надо отвлечься от готовки, но нужно помнить, что этот перерыв быстро закончится. Варочная панель распознает, что на нее поставили посуду, и не путает ее с другими вещами — например, салфеткой для уборки, не реагирует на прикосновения руки к конфорке. Благодаря этому вы можете быть уверены, что посторонние предметы не будут повреждены нагревом. Функция поддержания тепла дает возможность сохранить свежесть приготовленных блюд, даже если до ужина еще далеко.

встраиваемые электрические приборы не комплектуются вилкой для подключения к электрической сети
Подробные характеристики
Произведено в Евросоюзе
Гарантия 1 год

Общие характеристики

Вид
Индукционная       
Индукционная
Индукционная

По сравнению с другими типами нагревательных элементов индукционная варочная панель эффективно использует потребляемую энергию. Тепло генерируется не внутри конфорки, а непосредственно в днище посуды, в результате потери тепловой энергии минимальны. Если сравнивать индукционные зоны с Hi-Light, то первые оказываются на 20-30% экономичнее. Из всех варочных поверхностей индукционные характеризуются наивысшим КПД — 90-93% (у электрических варочных панелей с чугунными конфорками эта величина составляет 53-56%, а у газовых — 49-52%).

Установка
Независимая       
Независимая установка
Независимая установка

Независимая варочная панель с отдельным подключением к электросети или сети газоснабжения — удобная кухонная техника, главным преимуществом которой является возможность размещения в любом подходящем месте. Она может использоваться автономно: духовой шкаф при этом может отсутствовать вообще или размещаться где угодно, на любой высоте, а не в обязательном порядке под варочной панелью.

Независимая варочная поверхность имеет собственную панель управления, так что регулировать ее работу становится легче. Кроме того, исчезает необходимость приобретать варочную панель и духовку от одного производителя, что значительно расширяет выбор. Независимые панели могут иметь любой тип нагрева, любые размеры и любое количество конфорок — от одной до пяти или шести. Даже если варочная панель или духовка с независимым подключением выйдет из строя, на другие приборы это не повлияет: они по-прежнему сохранят работоспособность.

Недостатком устройств с подобным типом подключения считается обычно более высокая цена, а также нередкие затруднения с подбором техники в одном и том же цвете и стиле. Кроме того, для подключения двух приборов понадобятся две отдельные розетки.

Способ подключения
Электрическая
Высота (см)       
Высота
Высота

Варочные панели встраиваются в столешницу: они могут располагаться как заподлицо, так и выступать над ее поверхностью. Особенности их расположения зависят от высоты (толщины) варочной панели, а та определяется, как правило, видом нагрева, материалом поверхности и типом подключения — зависимым или независимым.

В среднем у газовых моделей этот показатель больше, чем у электрических. Высота газовых варочных поверхностей составляет обычно от 4 до 10 см: важное значение при выборе модели имеет и толщина столешницы. Известно, что стандартная толщина столешницы из ДВП составляет около 38 мм: исходя из этого, высота газовых варочных панелей чаще всего составляет 4–5 см. Если варочная панель имеет большую высоту, ее обычно заглубляют в столешницу, стараясь при этом не повреждать внутреннюю сторону. Для этого под ней устанавливают дополнительную полку (фальшпанель), за счет которой уменьшается пространство в тумбе.

Электрические и индукционные варочные панели из стали, эмали и стеклокерамики имеют толщину от 4 до 5,5 cм, но выглядят более низкими, так как на них отсутствуют выступающие горелки. Как правило, подробные требования к толщине столешницы для установки приводятся в руководстве пользователя.

20.1
Ширина (см)       
Ширина
Ширина

Ширина варочной панели — одна из важнейших ее характеристик, которая зависит главным образом от количества и порядка размещения конфорок. Тип нагрева на нее практически не влияет. Как правило, конфорки размещаются в два ряда, причем более мощные располагаются во втором ряду. Производители выпускают также модели с одним рядом конфорок — например, для установки на кухонном острове, — а также с расположением зон нагрева в форме ромба или трапеции.

Стандартная ширина устройства составляет около 59–60 см: таковы наиболее востребованные четырехконфорочные модели. Подобный размер облегчает встраивание варочной панели в стандартную кухонную столешницу.

Устройства с одной и двумя конфорками считаются компактными: их минимальная ширина составляет около 19 см, но чаще всего выпускаются модели шириной около 30 см. Ширина варочных поверхностей с тремя конфорками достигает обычно 45 см: более мощная конфорка в таких панелях располагается отдельно, а две менее мощные — друг за другом. Большие варочные панели в пятью или шестью конфорками имеют ширину от 85 до 90 см: у моделей с 5 конфорками самая мощная обычно находится в центре. Панели шириной более 90 см служат чаще всего для профессионального использования.

80.6
Глубина (см)       
Глубина
Глубина

Глубина варочной панели представляет собой расстояние от ближайшей к пользователю ее точки до самой дальней. В первую очередь глубина определяется соответствующими размерами столешницы, куда варочная панель будет встроена, и уже во вторую — количеством и расположением конфорок.

Необходимо помнить, что варочную панель нельзя размещать вплотную к стене: расстояние между стеной и прибором для электрических панелей должно быть не менее 5 см, а для газовых устройств расстояние составляет не менее 7 см. Соблюдать это условие необходимо, чтобы воздух мог свободно циркулировать вокруг варочной панели и не произошло перегрева, а также потому, что мощные конфорки обычно размещаются во втором ряду.

Наиболее распространенное значение глубины варочной поверхности — от 52 до 60 см: такие габариты могут иметь панели с любым количеством конфорок — от двух до шести или семи. Варочные поверхности с одной конфоркой или те, где конфорки располагаются в один ряд, могут иметь гораздо меньшую глубину — от 38–40 см. Отдельно следует рассматривать варочные панели со встроенной вытяжкой, наличие которой также влияет на глубину варочной панели. Подробные рекомендации по выбору и размещению модели приводятся в инструкции пользователя.

52.6
Габариты (ВхШхГ), см
20.1х80.6х52.6
Ширина встраивания (см)
78
Глубина встраивания (см)
50
Размеры ниши для встраивания (Ш х Г), см       
Размеры ниши для встраивания
Размеры ниши для встраивания

Размеры ниши для встраивания необходимо знать для правильной установки варочной панели, удобного доступа к конфоркам, обеспечения безопасности при приготовлении пищи. Выбирая варочную панель, требуется прежде всего определить место ее расположения. Не рекомендуется устанавливать варочные поверхности слишком близко к мойке — расстояние должно составить не менее 60 см и не более 1 метра. Рабочая поверхность между ними понадобится для подготовки продуктов.

Также опасно устанавливать варочную панель вплотную к холодильнику или шкафу: следует оставить между ними расстояние не менее 30 см. Зазор между задней стороной варочной панели и стенкой кухни составляет обычно не менее 50 см для электрических панелей и 70 см — для газовых. Иногда стену кухни защищают огнеупорной панелью.

Отверстие в нише выполняют, исходя из размеров самой варочной панели — они должны соответствовать друг другу либо немного превышать размеры выреза. При выборе наиболее распространенной варочной панели с 4 конфорками в столешнице вырезается отверстие шириной 59 см и глубиной около 49-50 см. Толщина столешницы должна быть немного меньше, чем высота варочной панели, в противном случае панель придется заглубить, чтобы она не слишком выступала.

19.4х78х50

Дизайн

Цвет        
Цвет
Цвет

Цвет варочной панели нередко становится одним из важных факторов, влияющих на выбор той или иной модели.

Разнообразие цветовых решений зависит от материала поверхности. Современные варочные панели изготавливаются из нержавеющей или эмалированной стали, стеклокерамики и закаленного стекла. Если стальные поверхности не предполагают большого разнообразия (речь может идти только о блестящей или матовой обработке), то остальные материалы могут окрашиваться в самые разные цвета — особенно это касается поверхностей, покрытых эмалью.

Стекло и стеклокерамика могут не только окрашиваться — на них наносятся различные рисунки и надписи, придающие технике неповторимый вид. Однако чаще всего эмалированные поверхности выпускаются в белом цвете, а стеклянные и стеклокерамические — в черном. Подобный выбор обусловлен меньшей трудоемкостью при изготовлении, а также универсальным характером этих оттенков, позволяющим успешно сочетать их с кухонной мебелью и другой техникой любого стиля.

Считается, что белый цвет наиболее маркий, но брызги, разводы, крошки и прочие загрязнения гораздо заметнее на черной поверхности. Самыми практичными следует признать поверхности серого и бежевого оттенков, которые, кроме того, лучше всего гармонируют с мебелью из натурального дерева.

Реже выпускаются панели других оттенков — коричневого, красного, оранжевого, зеленого, цвета меди, фиолетового, бордо — их достаточно трудно сочетать с кухонными гарнитурами и бытовыми приборами. Газовые варочные панели необычных оттенков нередко оснащаются и оригинальной медной, бронзовой или латунной фурнитурой в стиле ретро. Любители цветных варочных панелей могут обратить внимание на продукцию Smeg, Kuppersberg, Kaiser, Ilve, Franke и ряда других производителей.

Черный
Цвет рамки
Нержавеющая сталь
Обработка края       
Обработка края
Обработка края

Обработка края варочной панели — фактор, на который следует обратить внимание при выборе модели сразу по нескольким причинам. Наиболее распространенные виды обработки края панелей, особенно стеклокерамических и стеклянных — рамка из металла (стали, алюминия, реже меди), металлический профиль по всему периметру или частичный — по переднему краю или по бокам, скошенный передний или боковой край без рамки.

Чаще всего приходится делать выбор между моделями с рамкой и без нее. Прежде всего наличие рамки влияет на внешний вид изделия. Так, рамка из меди применяется обычно в моделях классического и ретро-стиля, а стальная может сочетаться с современным интерьером. Кроме того, рамка служит для защиты от жидкости, вытекшей по время готовки: благодаря ей влага не попадает на кухонную мебель. В ряде случаев рамка не позволяет посуде соскользнуть с поверхности. И, наконец, рамка защищает края панели от случайных повреждений и сколов, продлевая срок службы. Однако считается, что модели с рамкой менее удобны в уходе, так как под ее край может забиваться грязь, которую трудно удалить. У индукционных панелей рамка занимает часть площади, которую можно использовать для размещения посуды.

Хорошей альтернативой рамке является металлический профиль, который обычно устанавливается только спереди или сбоку. Он также не позволяет жидкости стекать на столешницу, но не «съедает» полезную площадь. Что касается варочных панелей без рамки, неизменной популярностью пользуются модели со скошенным краем. Такая обработка называется фацетной — внешняя сторона панели имеет огранку под углом 45 градусов. Такая панель очень легко чистится и эффектно выглядит, а современные методы огранки защищают края от сколов.

Варочные панели с прямым краем привлекают покупателей благодаря более низкой стоимости и также широко представлены у производителей.

Рамка из нержавеющей стали

Управление

Тип управления       
Тип управления
Тип управления

Тип управления варочной панелью — один из основных параметров, по которому покупатель выбирает ту или иную модель. В настоящее время выпускаются варочные панели с механическим, электронным и сенсорным управлением (последнее можно считать разновидностью электронного). Выбор типа управления зависит прежде всего от предпочтений пользователя.

Оно может быть связано с видом нагрева — так, газовые панели чаще имеют механическое управление, а индукционные — сенсорное. Механическое управление применяется как для недорогих устройств, так и для элитных моделей в винтажном стиле. Как наиболее простое, оно считается и самым надежным. Регулировка параметров нагрева и включение прибора производятся при помощи поворота переключателя. Даже если рукоятка переключателя приходит в негодность, ее очень легко заменить. Минус подобного типа управления — наличие выступающих деталей: очистить их достаточно сложно.

Электронное управление предполагает, что варочная поверхность становится совершенно гладкой и не имеет выступов. Установка параметров работы производится при помощи сенсоров, к которым иногда могут добавляться кнопки экстренного отключения. Такую панель для очистки достаточно протереть влажной салфеткой. На поверхность из стекла и стеклокерамики наносятся обозначения: для регулировки степени нагрева, задания дополнительных опций достаточно прикосновения.

Различаются сенсоры-кнопки и слайдеры: в первых для регулировки интенсивности нагрева нужны несколько нажатий подряд, по вторых нужно провести пальцем вдоль специальной шкалы. Рядом с сенсорами располагаются индикаторы, которые оповещают о текущих параметрах работы устройства. Недостаток сенсорного управления — чувствительность к перепадам напряжение и достаточно сложный ремонт.

Электронное
Панель управления и дисплей       
Панель управления и дисплей
Панель управления и дисплей

Дисплей в варочных панелях с электронным управлением служит для более наглядного отображения текущего состояния прибора, а также для удобного задания параметров работы. Для вытяжек, встраиваемых в варочную поверхность, панель управления может быть как отдельной, так и объединенной. Во втором случае управление работой вытяжки осуществляется с варочной поверхности.

В любом случае, для отображения информации могут использоваться дисплеи различных типов. В самом простом случае это цифровые дисплеи, на которых высвечивается выбранная мощность. Ряд производителей оснащает свои модели более информативными цифровыми дисплеями: так, дисплей Display Control в моделях от Franke сообщает об активации того или иного режима, остаточного хода или режима поддержания свежести воздуха встроенной вытяжки, необходимости замены жироулавливающего и угольного фильтров.

В моделях более высокого уровня могут устанавливаться сенсорные дисплеи, которые служат и для отображения, и для управления одновременно. Они могут быть черно-белыми или полноцветными, с регулировкой яркости, с символьными и графическими изображениями. Активация той или иной функции происходит при прикосновении к одному из значков.

Цифровой дисплей
Расположение элементов управления       
Расположение элементов управления
Расположение элементов управления

Элементы управления варочной панелью позволяют включать и выключать прибор, регулировать интенсивность нагрева, активировать дополнительные функции — временно увеличивать мощность, подключать контуры расширения конфорок, объединять зоны нагрева, задействовать защиту от детей, экстренно выключать все конфорки сразу и многое другое.

Традиционно все элементы управления находятся в передней части варочной панели. Фронтальное расположение обусловлено самым удобным доступом к ним: все обозначения и подписи в таком случае хорошо различимы. Особенно это касается варочных панелей с электронным сенсорным управлением, которые не имеют выступающих частей. Даже если необходимо дотянуться до посуды на заднем ряду конфорок, сенсорные элементы управления не будут задеты, а следовательно, параметры приготовления пищи случайно не изменятся.

В моделях с механическим управлением для регулировки интенсивности нагрева используются выступающие над поверхностью поворотные переключатели. Как правило, механические варочные панели имеют газовый тип нагрева, в них используется меньшее количество дополнительных опций. В них элементы управления могут располагаться сбоку — как правило, с правой стороны.

Фронтальное управление
Переключатели
Сенсорные / TouchControl       
Сенсорные переключатели
Сенсорные переключатели

Варочные поверхности с таким управлением проще в обслуживании, чем оборудованные поворотными переключателями, поскольку абсолютно гладкую поверхность легче мыть. Кроме того, они занимают меньше места на варочной поверхности, что позволяет использовать большую часть площади под рабочее пространство

Таймер       
Таймер
Таймер

Таймер варочной панели — это устройство, позволяющее задавать время приготовления пищи. По истечении указанного времени таймер подает звуковой сигнал о необходимости отключения конфорки или выключает ее самостоятельно в зависимости от модели. С помощью этой опции можно запрограммировать отключение любой конфорки или всех конфорок одновременно.

Да
Тип таймера       
Тип таймера
Тип таймера

Таймеры на варочной панели служат в первую очередь для того, чтобы не пропустить готовность блюда и обеспечить безопасность в то время, когда включены зоны нагрева. Самые простые — таймеры обратного отсчета, которые позволяют выставить время готовки. По его истечении раздается звуковой сигнал.

Таймер с автоматическим отключением может действовать как для всей панели, так и для каждой конфорки в отдельности. Когда заданное время заканчивается, он отключает конфорку. В некоторых случаях (например, во время дневного сна детей) звуковой сигнал этого таймера может быть отключен. Таймер-будильник отличается тем, что не связан с конфорками: он будет работать, когда плита отключена, и подаст звуковой сигнал в заданное время. Иногда для выключения будильника требуется включить варочную панель.

Таймер прямого отсчета фиксирует реальное время работы конфорки: его используют, например, при приготовлении нового блюда. Таймер варки яиц позволяет получить яйца, сваренные всмятку, в мешочек или вкрутую, не тратя времени на отслеживание процесса. Экономичный таймер автоматически выключает питание за несколько минут до окончания заданного времени, так что приготовление завершается за счет остаточного тепла.

Звуковой / минутник
Функция паузы       
Функция паузы
Функция паузы

Функция паузы позволяет приостановить процесс нагрева — если вам необходимо отлучиться, а на плите уже что-то кипит. Включаем эту опцию и проблема решена — она автоматически ставит все конфорки на режим «подогрев» (он самый слабый). Теперь точно ничего не убежит. А как только вернетесь и нажмете на кнопку снова, панель сама восстановит те значения температуры, которые стояли прежде.

Stop&Go
Индикаторы       
Индикаторы
Индикаторы

Индикаторы варочной панели позволяют отслеживать ход работы, оповещают об активации тех или иных функций, способствуют безопасности использования устройства. Они представляют собой светодиоды, расположенные на панели управления. Включение светодиода обозначает, что функция активирована. В некоторых случаях имеет значение и цвет сигнала. Кроме того, для индикации может использоваться цифровой дисплей, на котором высвечиваются условные обозначения или числовые значения, соответствующие той или иной опции. Индикаторы имеются не на всех варочных панелях — например, на поверхностях с газовым типом нагрева и механическим управлением необходимости в них чаще всего не возникает.

Электрические и индукционные варочные панели оснащаются целым рядом индикаторов в зависимости от модели и функционала устройства. Индикатор включения и выключения присутствует на всех панелях. Этот индикатор загорается при включении хотя бы одной конфорки и гаснет, когда все конфорки выключены. Еще один тип индикаторов, которые присутствуют на всех панелях, — индикаторы остаточного тепла, оповещающие о том, что конфорка, на которой недавно готовили, еще не успела остыть. Они позволяют защитить пользователя от ожога, а также воспользоваться остаточным теплом для разогрева блюд или доведения их до готовности. В ряде моделей индикация позволяет узнать, насколько остыла конфорка: индикаторы остаточного тепла в этом случае могут иметь две или три ступени, которым соответствуют разные условные обозначения.

Для каждой конфорки предусмотрен также индикатор уровня мощности: он показывает, какова интенсивность нагрева в конкретный момент. Если в данной модели имеется таймер, специальный индикатор указывает, сколько времени осталось до окончания приготовления или прошло с начала работы, дополнительно может также выдаваться сообщение о том, включен ли звуковой сигнал. Индикаторы активации различных опций могут оповещать о включении режимов оттаивания, подогрева, об активации функции паузы, автоматики жарения и закипания, функции временного увеличения мощности, о блокировке панели управления от детей.

Важное значение имеют индикаторы неисправностей: выведенные на дисплей коды позволят судить о характере возникшей ошибки. Индукционные панели могут оснащаться индикацией наличия посуды, которые в том числе сообщают, что на конфорке находится посуда из неподходящего материала.

Индикатор остаточного тепла       
Индикатор остаточного тепла
Индикатор остаточного тепла

Такой индикатор напомнит, что поверхность ещё горячая, и поэтому не стоит касаться её или ставить на неё предметы, чувствительные к высокой температуре. Кроме этого, он позволяет эффективно использовать остаточное тепло, чтобы сэкономить электроэнергию — можно подогреть уже приготовленное блюдо.


Индикация уровня мощности
Индикатор загрязнения фильтра вытяжки

Конфорки

Панель конфорок       
Материал панели конфорок
Материал панели конфорок

В настоящее время для изготовления варочных поверхностей применяют материалы несколько видов — это эмалированная сталь, нержавеющая сталь, стеклокерамика и закаленное стекло.

Эмалированная поверхность — самый недорогой вариант, к тому же эмаль легче окрасить в разные цвета, кроме универсальных белого, черного и коричневого. Она хорошо переносит температурные воздействия, устойчива к химическим веществам, однако на ней легко появляются сколы и царапины. Эмаль хорошо чистится и достаточно долго сохраняет первоначальный вид. Чаще всего такое покрытие используется в газовых плитах и обычных электрических.

Нержавеющая сталь — материал надежный, долговечный, легко переносящий механическую, термическую и химическую нагрузку. Стальные поверхности стильно выглядят и сочетаются с любыми стилями интерьера, но нержавейка несколько дороже эмали. В уходе этот материал достаточно удобен, хотя на нем легко остаются отпечатки пальцев и другие следы, которые нужно своевременно удалять. Из нержавеющей стали изготавливают газовые варочные панели и реже электрические.

Стеклокерамика представляет собой модифицированное стекло, подвергнутое термической обработке при высокой температуре, — при этом меняется ее кристаллическая структура, придавая материалу особую прочность и долговечность. Поверхности из стеклокерамики смотрятся очень выгодно — как правило, они выпускаются в черном цвете, иногда белом. Цветная стеклокерамика встречается достаточно редко. Гладкая блестящая поверхность легко чистится.
Несмотря на достаточно высокую стоимость, стеклокерамика используется для всех видов варочных панелей — газовых, электрических, индукционных. Особенно долговечными и безопасными считаются немецкая стеклокерамика Schott Ceran, не содержащая добавления тяжелых металлов, и французская стеклокерамика EuroKera с дополнительным слоем, придающим особую прочность и устойчивость цвета.

Закаленное стекло отличается от стеклокерамики более низкими допустимыми температурами — они составляют около 300°С, тогда как для стеклокерамики допустимы температуры до 750°С. Закаленное стекло используется для газовых варочных панелей. Самым надежным, прочным, не подверженным механическим повреждениям считается зеркальное закаленное стекло OptiGlass — из него изготавливаются индукционные варочные поверхности.

Стеклокерамика
Зоны нагрева
Induction
FlexZone       
FlexZone
FlexZone

Под каждой FlexZone находится 20 овальных индукторов — их более чем достаточно для равномерного нагрева любого участка зоны. В результате повышение температуры происходит строго под дном установленной емкости.

Общее количество конфорок       
Общее количество конфорок
Общее количество конфорок

Общее количество конфорок — фактор, напрямую влияющий на выбор варочной панели. Наиболее распространены четырехконфорочные поверхности, размер которых соответствует стандартному размеру столешницы и наиболее удобен для встраивания. Как правило, одна из конфорок в этом случае имеет увеличенную мощность, две конфорки — стандартную, а четвертая — малую мощность. Эта конфорка используется достаточно редко, так что зачастую даже для постоянной готовки может быть достаточно поверхности с тремя или даже двумя конфорками.

Двухконфорочные панели шириной около 30 см часто можно комбинировать с другими в дизайне «Домино». Такие панели нередко выбирают покупатели, которые пользуются для приготовления пищи другой техникой — мультиварками, духовками, СВЧ-печами. Конфорки при этом могут располагаться как в два ряда, так и в один, а форма панели может быть как привычной прямоугольной, так и овальной или в виде капли.

Большинство производителей предлагает также варочные панели с пятью, шестью и реже семью конфорками для семей с детьми, где необходимо много готовить. Увеличенное количество конфорок предполагает и большие возможности для приготовления разнообразных блюд.

4
Конфорок индукционных
4

Функции

 Автоматическое распознавание посуды       
Распознавание посуды
Распознавание посуды

Благодаря функции распознавания посуды нагрев варочной зоны происходит только в том случае, если на варочной панели стоит посуда. Система контролирует каждую варочную зону. Если посуда уже находится на одной из конфорок, то активация зоны происходит одновременно с включением панели конфорок.

Да
 Функция поддержания тепла       
Функция поддержания тепла
Функция поддержания тепла

Функция сохраняет температуру блюда примерно на уровне 60 градусов. Благодаря ей вы можете оставить кастрюли на конфорке перед ужином или приемом гостей и не разогревать еду перед подачей.

Да
 Функция объединения конфорок       
Функция объединения конфорок
Функция объединения конфорок

Вы можете объединить две и более конфорки в одну. Благодаря этому приготовление в нестандартной, овальной или крупной посуде не представляет проблем.
У разных производителей эти зоны называются по-разному: Bridge, XpandZone, MultiZone и т. д.

Да
 Автоматика закипания       
Автоматика закипания
Автоматика закипания

Функция позволяет сэкономить время и энергию, доведя блюдо до кипения быстрее, чем при стандартном нагреве.
Как работает:

  • мощность сразу достигает максимума,
  • когда жидкость закипает, специальный датчик сигнализирует об этом,
  • мощность нагрева уменьшается до выбранных значений.

Индукционные панели достигают температуры кипения быстрее, чем электрические, поэтому данная функция становится еще удобнее.
Не все блюда можно готовить с этой функцией. В инструкциях обычно перечислены ограничения.

Да
 Функция re-Start       
Функция re-Start
Функция re-Start

Функция Re-Start в индукционных варочных панелях предназначается для восстановления настроек — температуры приготовления, опций увеличения мощности, включения контуров расширения и многих других — после отключения зон нагрева.

У различных производителей предусмотрен разный принцип работы этой функции. Чаще всего она используется, если имеют место непредвиденные отключения варочной панели — например, в результате случайного нажатия, попадания жидкости на панель управления, внезапного скачка напряжения. Восстановление настроек в этом случае возможно, если после него прошло немного времени — приблизительно 4–6 секунд. В некоторых случаях — например, у варочных панелей «Нефф» — работа этой функции схожа с работой функции паузы Stop&Go и предусматривает отключение плиты по желанию пользователя. Иногда для активации Re-Start на панели управления имеется отдельная кнопка, но чаще для этого используется та же кнопка, что и для Stop&Go.

Использование этой функции позволяет сэкономить время, особенно если для приготовления используется не одна, а несколько конфорок одновременно. Такая опция имеется и у ряда газовых варочных панелей: настройки восстанавливаются после срабатывания защиты «газ-контроль».

Да
 Режим Power       
Power
Power

Функция интенсивного нагрева. Мощность зоны нагрева значительно увеличивается на определенный промежуток времени, обеспечивая максимальную скорость нагрева.

Booster
TwinBooster
 Особенности функционала
Индивидуальные настройки (например, звуковые сигналы)
Автоматическое регулирование вытяжки       
Автоматическое регулирование вытяжки
Автоматическое регулирование вытяжки

Автоматическое регулирование вытяжки — полезная функция, которая позволяет организовать согласованную работу двух устройств без участия человека и эффективно поддерживать чистоту воздуха в кухне.

Вытяжка с автоматической регулировкой будет включаться самостоятельно, как только начнет работу хотя бы одна зона нагрева варочной панели, и температура воздуха над ней повысится до определенного значения. Вытяжка также автоматически отключится, когда блюдо будет приготовлено, конфорки выключены, а температура воздуха снизится до установленного уровня. Благодаря автоматическому регулированию вытяжки можно не опасаться, что устройство не будет выключено вовремя, что позволяет также сэкономить электроэнергию.

Воздух в помещении будет своевременно очищаться от капель жира, продуктов горения, неприятных запахов. Интенсивность работы вытяжки в этом случае также регулируется автоматически, в зависимости от количества включенных конфорок и уровня нагрева: пользователю не нужно настраивать вытяжку вручную, что ведет к экономии времени. Подобной опцией оснащаются многие приборы премиум-класса: так, у фирмы Miele для этого служит функция Con@ctivity.

Мощность варочных зон

Задняя левая (кВт)
2.1 / 3/3.65
Передняя левая (кВт)
2.1 / 3/3.65
Задняя правая (кВт)
2.1 / 3/3.65
Передняя правая (кВт)
2.1 / 3/3.65

Диаметр варочных зон

Задняя левая (мм)
150-230
Передняя левая (мм)
150-230
Задняя правая (мм)
150-230
Передняя правая (мм)
150-230

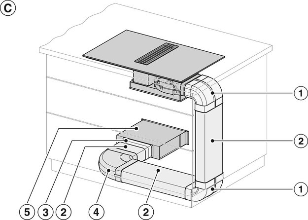
Встроенная вытяжка

Вытяжка       
Вытяжка
Вытяжка

Вытяжка, встроенная в варочную панель — достаточно удобный вариант, позволяющий сэкономить место в кухне. Такая конструкция позволяет лучше улавливать испарения, не давая им распространяться по всему помещению, и способствует более качественной очистке воздуха. Большинство подобных моделей может работать только в режиме рециркуляции воздуха, с удалением капель жира, сажи, неприятных запахов при помощи системы фильтров. Работу в режиме отвода загрязненного воздуха через систему вентиляции организовать довольно сложно, поскольку вытяжка располагается низко над полом. Часто варочная панель находится на кухонном острове, что также мешает присоединению к вентиляции. Еще одна особенность подобных моделей состоит в том, что под варочной панелью нельзя разместить духовку или другую технику, так как место будет занято.

Встроенные в варочную поверхность вытяжки могут быть двух типов: выдвижные и нет. Очень часто они работают совместно с варочной панелью, причем скорость всасывания также регулируется автоматически в зависимости от количества включенных зон нагрева и их мощности. Следует заметить, что большинство таких моделей относится к премиум-сегменту и стоит достаточно дорого.

Да
Режимы работы       
Режимы работы вытяжки
Режимы работы вытяжки

Современные кухонные вытяжки могут работать в двух режимах — отвода и рециркуляции (или переключаться с одного на другой). Режим отвода предусматривает удаление загрязненного воздуха через систему вентиляции. Воздух выводится за пределы помещения — на улицу, в подвал, на чердак и т.п. Для присоединения к системе вентиляции потребуется проложить воздуховод, на что придется затратить дополнительные усилия. Вытяжки такого типа могут оборудоваться вентилятором, с помощью которого и удаляется грязный воздух, или реже действовать за счет естественной тяги. Работа такого прибора будет достаточно шумной, но качество очистки, в том числе от неприятного запаха, остается высоким.

Вытяжки, работающие в режиме рециркуляции, не нуждаются в подключении к вентиляции: все загрязнения удаляются при прохождении воздуха через систему фильтрации, после чего воздух возвращается в помещение. Кроме жироулавливающего, эти модели оборудуются фильтром из активированного угля, защищающим от неприятного запаха. Недостаток их — сменные фильтры: если жировые можно промыть проточной водой, то угольные обычно требуют замены. Плюсы этих вытяжек — простая установка, более разнообразный дизайн и низкий уровень шума.

Отвод / рециркуляция воздуха
Интенсивный режим       
Интенсивный режим
Интенсивный режим

Интенсивный режим в вытяжках, встроенных в варочную панель, работает так же, как и в обычных настенных или купольных. Он используется при очень сильных загрязнениях воздуха — например, если на кухне что-то сгорело, и нужно вывести дым, пар, частички сгоревшего жира, сажи и другие вредные вещества как можно скорее. Применяется он и при готовке на гриле, жарке во фритюре, приготовлении нескольких блюд на всех зонах нагрева одновременно. Двигатель при этом работает на максимальной мощности, скорость вращения вентилятора также достигает наибольших значений. Чтобы избежать перегрева, перегрузки и выхода оборудования из строя время работы в интенсивном режиме ограничивается. После автоматического отключения через несколько минут (как правило, 10-15) прибор начинает работать либо в режиме, который использовался ранее, либо просто переключается на третью ступень. Для активации режима может использоваться отдельная кнопка.

Этим режимом оснащаются модели, работающие как в режиме рециркуляции, так и в режиме отвода. При слишком частом его использовании в режиме рециркуляции потребуется чаще менять фильтры: промывать жироулавливающие и менять угольные.

Да

Дополнительные характеристики

Тип установки
Накладная
Серийная комплектация
Эко-мотор вытяжки
10-слойный металлический жироулавливающий фильтр
Дополнительные параметры
Комплект для рециркуляции приобретается отдельно: DUU 1000-2
Зона PowerFlex: 230x390 мм, 3.4 / 4.8 / 7.3 кВт
Защита маркировки от вытирания
Легкоочищаемая внутренняя часть вытяжки
Жироулавливающий фильтр можно мыть в посудомоечной машине
Подключение контактного выключателя

Технические характеристики

Класс энергопотребления       
Класс энергопотребления
Класс энергопотребления

Класс энергопотребления указывается в описаниях целого ряда варочных панелей, однако его значение нельзя считать официальным, так как стандартов энергоэффективности для этого типа приборов не существует.

Действительно, в отличие от духового шкафа или холодильника, варочная поверхность не имеет закрытой камеры, где нужно поддерживать ту или иную температуру. Для этого прибора необходимо, чтобы коэффициент полезного действия стремился к 100% для достижения оптимального результата. Чтобы оценить экономичность варочной панели, используется другой показатель — мощность энергопотребления в кВт. Она зависит от типа нагрева варочной панели, количества конфорок и их характеристик.

Уточнить значение мощности каждой конфорки можно в инструкции пользователя. Слишком малая мощность приводит к увеличению времени приготовления, а слишком большая создает дополнительную нагрузку на электропроводку. Общая мощность варочной панели составляет от 6,5 кВт для моделей с четырьмя конфорками до 10 кВт для устройств с шестью конфорками. Если проводка ненадежна, рекомендуется приобретать варочные панели с двумя конфорками общей мощностью около 3,7 кВт, которые можно подключать к обычной розетке.

A++
Регулировка мощности
9-ступенчатая
Количество уровней мощности вытяжки
3
Напряжение (В)
220-240
Частота (Гц)
50-60
Общая потребляемая мощность (кВт)
7.5
Минимальная производительность (м3/ч)       
Минимальная производительность (м3/ч)
Минимальная производительность (м3/ч)

Минимальная производительность вытяжки, в том числе встраиваемой в варочную панель, измеряется в м3/ч. Производительность вытяжки — основная характеристика, которую нужно учитывать при выборе модели: она показывает, насколько хорошо будет очищен воздух в конкретном помещении. Именно по ней можно судить, подойдет ли выбранное устройство для вашей кухни. Производительность вытяжки пользователь может достаточно легко рассчитать самостоятельно, зная площадь помещения в квадратных метрах и высоту потолков в метрах. Кроме того, в расчете используется коэффициент обновления воздуха: по санитарным нормативам воздух в любом помещении должен обновляться каждые 5 минут, то есть 12 раз в час. Перемножив эти три показателя (площадь, высоту потолков, коэффициент обновления), мы получаем минимальное значение производительности вытяжки для конкретного помещения. Более точный расчет учитывает, кроме того, количество поворотов воздуховода и коэффициент запаса мощности, который может составить от 15% до 30%. Производители предлагают модели, минимальная производительность которых составляет около 150-300 м3/ч, что соответствует кухне площадью порядка 5-10 кв.м.

170
Максимальная производительность (м3/ч)       
Максимальная производительность (м3/ч)
Максимальная производительность (м3/ч)

Максимальная производительность вытяжки — показатель, который определяет, какое наибольшее количество воздуха она способна очистить за один час. Измеряется она в м3/ч. Как известно, производительность для вытяжки, включая модели, встроенные в варочную поверхность, можно рассчитать по простой формуле, зная площадь кухни и высоту потолка. Их произведение умножается на коэффициент обновления воздуха в помещении, равный 12. Полученный результат примерно определяет производительность вытяжки при работе на максимальной скорости.

При реальном использовании прибор достаточно редко работает на максимальной скорости долгое время, поскольку это ведет к его преждевременному изнашиванию, да и уровень шума слишком велик. Поэтому рекомендуется применять более точный расчет, где учитывается запас мощности, который составляет 1,3 для вытяжек с режимом отвода и 1,5 — для моделей с работой в режиме рециркуляции, тип варочной панели, расположение воздуховода, тип помещения — изолированное или нет, и другие параметры. В среднем максимальная производительность вытяжек для кухни площадью до 30 кв.м составляет 800-900 м3/час, однако для больших помещений можно найти модели производительностью до 2000 м3/час.


490
Производительность в интенсивном режиме (м3/ч)       
Производительность в интенсивном режиме (м3/ч)
Производительность в интенсивном режиме (м3/ч)

Производительность вытяжки в интенсивном режиме показывает, сможет ли она выполнять свои функции в случае форс-мажора. Интенсивный режим в моделях различного типа, в том числе со встраиванием в варочную панель, активируется при слишком сильном задымлении в кухне, а также при жарении во фритюре, на гриле, готовке на всех конфорках одновременно. Двигатель при этом работает на предельно допустимом уровне, а вентилятор вращается с максимально возможной скоростью. Чтобы не допустить поломки при такой нагрузке, интенсивный режим ограничивают по времени, автоматически отключая через 5-10 минут.

Покупатель может рассчитать самостоятельно примерное значение производительности в интенсивном режиме для определенного помещения. Для этого требуется знать объем помещения (или его площадь и высоту). Этот объем умножается на коэффициент замены воздуха по нормативам СЭС, составляющий 12 циклов в час. По полученному результату можно судить, какая производительность вам понадобится для очистки воздуха в экстренном случае: она может на треть превышать производительность на максимальной 3 скорости. Например, у моделей Falmec с производительностью 800 м3/час интенсивный режим дает производительность 1280 м3/час.

570
Уровень шума в интенсивном режиме (дБ)
59
Вес (кг)
22
Длина кабеля (м)
2

Безопасность

Блокировка управления/защита от детей       
Блокировка управления/защита от детей
Блокировка управления/защита от детей

Одной из самых важных функций защиты техники от детей является невозможность случайного включения бытового прибора. Для этого любой кухонный агрегат оснащен специальной кнопкой включения, без удерживания которой невозможно привести в действие прибор.

Да
Отключение
Автоматическое выключение       
Автоматическое отключение
Автоматическое отключение

Автоматическое отключение варочной панели — функция, которая предназначается для обеспечения безопасности домашней техники, мебели и членов семьи.

Современные варочные панели — устройства достаточно мощные, при их использовании может возникнуть риск ожогов, неисправности самой варочной поверхности, деформации кухонной мебели и даже возгорания. Особенно это касается электрических варочных панелей, конфорки которых могут продолжать нагрев в отсутствии посуды, если пользователь забыл их выключить.

Функция автоматического отключения активируется, если включенная конфорка нагревается до предельно допустимой температуры. Нагревательный элемент при этом отключается, а когда температура снижается до нормальных значений, нагрев продолжится снова. Другой вид автоматического защитного отключения связан со слишком продолжительной работой варочной панели. Если хотя бы одна из конфорок остается включенной долгое время, причем интенсивность нагрева остается неизменной, через определенное время варочная панель также прекратит работу автоматически. Это время определяется прежде всего степенью нагрева: как правило, в руководства пользователя приводится соответствующая таблица.


Защита от перегрева       
Защита от перегрева
Защита от перегрева

Датчики реагируют на повышение температуры сверх выставленных значений, подают сигнал в блок управления — и конфорка отключается. Когда температура поверхности нормализуется, можно снова продолжать работу. При этом настройки режима не нужно вводить заново.


Защитное отключение       
Защитное отключение
Защитное отключение

Защитное отключение конфорок способствует безопасной эксплуатации варочной панели, а также предотвращает перерасход электроэнергии.

Современные варочные панели остаются источником повышенной опасности, что связано с утечками газа, риском ожогов и возгораний, с перегревом и выходом из строя самой варочной поверхности. Защитное отключение реализуется разными способами в зависимости от типа нагрева. В газовых варочных панелях это функция «Газ-контроль», которая перекрывает подачу газа при случайном угасании пламени. В электрических и индукционных панелях предусмотрена функция автоматического отключения при перегреве, когда температура включенной конфорки превышает предельно допустимые значения.

После того как нагревательный элемент отключился, а конфорка остыла, нагрев включается снова самостоятельно. Для электрических панелей, которые поддерживают нагрев, даже если на конфорке отсутствует посуда, имеется защитное отключение при слишком продолжительной работе устройства. Если при этом не поступает никаких команд с панели управления, варочная панель также прекращает работу автоматически — время отключения при этом определяется степенью нагрева.

Защита от неправильного подключения       
Защита от неправильного подключения
Защита от неправильного подключения

Защита от неправильного подключения — необходимая мера безопасности, которая защищает устройство от повреждений, а пользователя — от поражения электрическим током.

Подключение бытовых приборов к сети, особенно самостоятельное, без участия квалифицированных электриков, нередко совершается с ошибками. В числе самых распространенных — неправильная полярность подключения, слишком высокая мощность, превышающая возможности проводки, неправильный выбор кабеля, подключение без использования устройства защитного отключения (УЗО). Все эти ошибки могут привести к тому, что варочная панель будет неправильно реагировать на команды, подаваемые с панели управления. В худшем случае не исключена возможность повреждения электропроводки или поломки варочной поверхности, а также удара электрическим током при прикосновении к поверхности.

Для предотвращения подобных ситуаций ряд производителей — например, британский бренд Maunfeld, — оснащает свою продукцию еще одним типом защиты, согласно которому панель не станет работать, если полярность проводов нарушена. Для полной защиты варочной панели рекомендуется выполнять подключение только силами специалистов.

Да
Встроенная система охлаждения       
Встроенная система охлаждения
Встроенная система охлаждения

Встроенная система охлаждения варочной поверхности позволяет предотвратить ее перегрев и возможный выход из строя. Она используется во всех индукционных варочных панелях, что связано с особенностями их конструкции.

Зона нагрева представляет собой участок стеклокерамической панели, под которым располагаются индукционные катушки. Сквозь них пропускается ток, создающий электромагнитное поле, которое генерирует вихревые токи в металлическом дне посуды. Поверхность при этом не нагревается, зато происходит постоянный нагрев катушек, в состав которых входит медь, а также других электронных элементов управления. Система охлаждения представляет собой встроенный вентилятор, который снижает температуру внутренней части варочной панели. Он включается, когда температура достигает критических значений: об этом поступает сигнал со специального датчика, расположенного с обратной стороны поверхности.

Применение охлаждающего вентилятора способствует надежности и долговечности прибора, однако увеличивает уровень шума. Следует помнить, что для отвода теплого воздуха между варочной панелью и духовкой, а также рядом стоящей мебелью должны оставаться зазоры.

Да
 
Артикул
26763401D
* Информация на сайте о товарных предложениях носит справочный характер и не является публичной офертой. Производители товаров могут без уведомления менять комплектацию, дизайн и функционал моделей. Пожалуйста, уточняйте данные о товаре у консультантов.
Консультации специалиста:
Наш консультант поможет Вам выбрать подходящую варочную панель.
Напишите:
Купить в кредит или рассрочку Miele KMDA 7634 FR
Подать заявку
Технологии варочных панелей Miele
Индукционная технология PowerFlex
Индукционная технология PowerFlex

Индукционная технология PowerFlex, разработанная специалистами Miele для варочных панелей, позволяет готовить в посуде любого размера и формы. Она предусматривает объединение двух и более зон нагрева в одну большую, на которой можно свободно размещать кастрюлю, сковороду или форму для запекания, передвигать их как удобно, регулировать мощность нагрева одни м касанием. Каждая объединенная зона нагрева отличается высокой мощностью до 7,4 кВт, так что нагрев производится очень быстро. Панели с функцией PowerFlex оснащены также возможностью временного повышения мощности TwinBooster

Функция TwinBooster
Функция TwinBooster

Функция TwinBooster в индукционных варочных панелях Miele предназначается для временного увеличения мощности конфорок. Она незаменима, например, если нужно быстро вскипятить воду. Функция TwinBooster предусматривает, что в выбранную конфорку направляется мощность двух соседних зон нагрева. В этом состоит ее отличие других моделей, где мощность увеличивается за счет только одной соседней конфорки. Скорость нагрева таким образом значительно увеличивается, экономя ваше время. Безопасность использования подобной функции гарантирует автоматическое отключение через 10-15 минут.

Автоматическое выключение
Автоматическое выключение

Автоматическое выключение варочных панелей — функция, отвечающая за безопасность использования этих устройств. Она прекращает подачу электроэнергии при возникновении целого ряда ситуаций. Основная из них — длительное включение прибора без каких-либо изменений в настройках: регулировки мощности, установки таймера и т. п. Чаще всего это происходит, если панель просто забыли выключить. Время, по истечении которого устройство отключается, зависит от интенсивности нагрева. Другая ситуация — попадание на плиту пролитой жидкости или посторонних предметов, что может привести к замыканию.

Автоматическое определение наличия и диаметра посуды
Автоматическое определение наличия и диаметра посуды

Технология автоматического определения диаметра посуды в современных индукционных варочных панелях значительно расширяет возможности этих устройств, в том числе облегчает подбор посуды. Нагревательные элементы располагаются под стеклокерамической поверхностью таким образом, что нагрев производится только в той зоне, которую закрывает дно посуды. Таким образом время нагрева будет минимальным, а электроэнергия не будет расходоваться впустую. Не занятая посудой поверхность не нагревается, что способствует безопасности использования. Не имеет большого значения и форма посуды.

Блокировка управления от детей
Блокировка управления от детей

Функцией блокировки управления от детей оснащаются все современные варочные панели, особенно с сенсорными управлением. Для включения их достаточно легкого прикосновения, вот почему блокировка — необходимая мера безопасности. Как правило, для нее используется отдельная кнопка-сенсор с изображением замка или ключа. При продолжительном нажатии на нее блокируются все функции панели управления, о чем появляется сообщение на дисплее. При выключении и последующем включении устройства блокировка не снимается. Для разблокировки необходимо удерживать нажатой несколько секунд ту же кнопку.

Цифровой дисплей
Цифровой дисплей

Цифровой дисплей в варочных панелях обеспечивает наглядное представление о ходе работы, позволяет полностью контролировать параметры нагрева и легко их настраивать. В зависимости от модели функции такого дисплея могут быть различными. В простейшем случае на дисплее отображается только уровень мощности каждой из зон нагрева. В более продвинутых моделях имеются также индикаторы блокировки панели и остаточного тепла. Самые современные сенсорные TFT-дисплеи показывают активные функции, время до отключения конфорки, температуру нагрева и даже потребляемую электроэнергию.

Класс энергопотребления A++
Класс энергопотребления A++

Класс энергопотребления A++ считается одним из самых высоких у варочных панелей. Узнать, к какому классу относится конкретное устройство, можно на этикетке с обратной стороны прибора, или в инструкции по эксплуатации. К классу А++ чаще всего принадлежат индукционные варочные поверхности, принцип действия которых предусматривает меньшие потери электроэнергии, так как согласно закону электромагнитной индукции нагревается дно посуды, а не поверхность. Для экономии электроэнергии рекомендуется следить, чтобы посуда прилегала к поверхности, а ее диаметр соответствовал размерам конфорки.

Функция поддержания тепла
Функция поддержания тепла

Функция поддержания тепла в электрических варочных панелях позволяет сохранять температуру приготовленных блюд, если прием пищи запаздывает. Ею можно воспользоваться вместо того, чтобы лишний раз разогревать пищу в микроволновой печи или духовке: как известно, такое разогревание неблагоприятно влияет на вкусовые качества блюд и содержание в них полезных веществ. При активации этой функции на всех или только на выбранных зонах нагрева поддерживается температура не более 65°С. Блюдо не пригорает и не выкипает, а расход электроэнергии будет совсем небольшим. В разных моделях эта функция может быть доступна как для всех, так и для одной или нескольких зон нагрева.

Функция Stop&Go
Функция Stop&Go

Функция Stop&Go в варочных панелях позволяет ненадолго прерывать работу устройства с сохранением всех предыдущих настроек. В большинстве моделей нагрев не прекращается полностью, но поддерживается на минимальном уровне, чтобы не пострадали вкусовые качества блюд. Воспользоваться этой функцией можно, если необходимо отлучиться или быстро очистить поверхность от пролитой жидкости. Для активации функции предназначается специальная кнопка, при нажатии на нее отключаются сразу все конфорки. Для возобновления работы достаточно снова нажать на эту кнопку или на кнопку включения устройства.

Защита от перегрева
Защита от перегрева

Защита варочных панелей от перегрева — одно из самых важных средств обеспечения их безопасности. Предупредить возникновение пожароопасной ситуации и исключить риск ожога позволяют датчики, фиксирующие температуру поверхности и нагревательных элементов. Как только температура превышает допустимые значения, сигнал поступает в систему управления, которая производит отключение устройства. Когда устройство остынет и температура примет безопасное значение, оно включится автоматически, причем в большинстве моделей будут сохранены выставленные ранее параметры нагрева.

FlexZone
FlexZone

Функция FlexZone в индукционных варочных панелях Neff, Samsung, Weissgauff и некоторых других брендов позволяет объединить несколько зон нагрева в одну общую зону с единым управлением. Как правило, для регулировки параметров работы при этом используются управляющие элементы передней конфорки. Увеличенная зона нагрева позволяет использовать для приготовления блюд посуду большого размера и необычной формы — например, овальной или прямоугольной. В ряде случаев один или несколько предметов можно размещать в объединенной зоне произвольно, нагрев при этом производится только под дном посуды.

Индикатор остаточного тепла
Индикатор остаточного тепла

Индикатор остаточного тепла в современных варочных панелях оповещает о том, что та или иная зона нагрева недавно использовалась и еще не успела остыть. Индикация остаточного тепла минимизирует риск ожога и позволяет сэкономить электроэнергию, используя тепло конфорки для поддержания температуры готовых блюд, разогрева или доведения до готовности. В моделях премиум-класса используются двух- и трехступенчатые индикаторы, показывающие изменение температуры при остывании конфорки более детально. Когда температура достигает безопасного уровня, индикатор гаснет автоматически.

Управление Touch Control
Управление Touch Control

Сенсорное управление Touch Control в электрических варочных панелях позволяет точно и быстро настраивать параметры приготовления и значительно облегчает уход за устройством. Чувствительные сенсоры передают сигналы в систему управления при легком нажатии или касании пальца. Поверхность с нанесенными на нее обозначениями не имеет выступающих частей, рядом с которыми может скапливаться грязь: для очистки и удаления загрязнений ее достаточно протереть губкой или салфеткой со специальным средством. У сенсорного управления меньше вероятность поломки, его легче заблокировать от детей.

Автоматика закипания
Автоматика закипания

Автоматика закипания позволяет на короткое время увеличивать мощность конфорки для быстрого кипячения воды, а затем автоматически снизить температуру, чтобы предотвратить выкипание или попадание жидкости на поверхность. Отслеживание температуры производится при помощи датчиков: как только от них поступает сигнал, что жидкость доведена до кипения, зона нагрева начинает работать на средней мощности. Использование такого режима позволяет существенно экономить время и электроэнергию: пользователю не нужно постоянно присутствовать на кухне, чтобы следить за приготовлением пищи.

Встроенная система охлаждения
Встроенная система охлаждения

Встроенная система охлаждения индукционной варочной поверхности предназначается для предотвращения перегрева и автоматического отключения устройства в процессе приготовления. Для этого варочные поверхности оборудуются специальным вентилятором, который позволяет отвести тепло, а также зазорами между варочной панелью, стенками тумбы и духовым шкафом. Вентилятор запускается автоматически: сигнал о необходимости его включения поступает в систему управления от датчика, который измеряет температуру. Датчик также располагается с внутренней стороны варочной поверхности.

Функция re-Start
Функция re-Start

Функция ReStart на варочной панели — полезное средство, которое обеспечивает восстановление настроек приготовления после непредусмотренного отключения устройства. Варочная поверхность может отключиться из-за случайного нажатия на кнопку централизованного выключателя, а также из-за попадания по поверхность жидкости или посторонних предметов. Настройки в течение непродолжительного времени сохраняются в памяти, и функция ReStart позволяет восстановить значение таймера, температуры и других параметров в полном объеме после того, как будет устранена причина отключения.

Показать ещё
О бренде Miele

Немецкая компания Miele специализируется на выпуске бытовой техники премиум-класса. Ее история насчитывает более 120 лет: еще в 1899 году компания, названная по имени одного из основателей Карла Миле, производила сепараторы и маслобойки. Бытовая техника начала изготавливаться с 1903 года — тогда была выпущена прогрессивная по тем временам стиральная машина «Модель А» с мешалкой на крышке. Затем была разработана стиральная машина с электродвигателем. Оборудование для стирки долго оставалось приоритетом компании: например, в 1953 году появилась первая стиральная машина с фронтальной загрузкой. С 1963 года компания производит машины для мытья посуды, а затем и встроенную технику для кухни.

На сегодняшний день производство «Миле» размещается не только в Германии, но и в Австрии, Чехии, Румынии и Китае. Девизом компании остаются слова «Все лучше и лучше»: каждый прибор проходит специальный тест на долговечность, а бренд вошёл в десятку лучших европейских корпоративных брендов. Среди самых популярных изделий — варочные панели, духовые шкафы, вытяжки, пароварки, холодильники, пылесосы, гладильные системы и, конечно же, посудомоечные и стиральные машины.

5

Последние отзывы о модели Miele KMDA 7634 FR

Читать подробнее
5
Достоинства:
Варочная панель дорогая, но не смотря на это, мы ее решили приобрести, так как покупая ее мы приобрели сразу два прибора в одном. В этой варочной панели имеется встроенная вытяжка, теперь нам не надо вешать над головой прибор для очистки воздуха. Это одно из самых главных имуществ данной панели. А еще отмечу ее шикарный внешний вид. Вся блестит, к ней не пристает и не пригорает пища. Конфорок четыре и все они имеют отличную мощность. Работают, как часы. Нагрев у конфорок моментальный, и теперь не надо ждать, когда закипит вода, так как, она закипает намного быстрее, чем на панелях, просто электрическом или газовом. Еще одно достоинство в том, что если нет надобности в работе вытяжки, ее можно просто убрать. Вытяжка легко убирается в столешницу, и плита приобретает совсем другой вид. И вытяжка и конфорки на панели работают отлично. Они легко управляются, все происходит при помощи сенсора. Обслуживание панели простое, она из стеклокерамики, которая легко моется, а у вытяжки можно поменять фильтры.
Недостатки:
Даже для меня, а я не жалуюсь на свой бюджет, панель дорогая. Поэтому не каждый решит ее приобрести.
Комментарий:
Панель отличная и современная. Она имеет все функции для классной работы, вплоть до таймера на конфорках. Все работает четко. Вытяжка тянет мощно и не дает запахам и испарениям покидать зону панели, все улавливается сразу. На кухне теперь у меня полный порядок и гармония. Покупкой я довольна. Это самое стоящее приобретение за последнее время.
Вопросы о модели Miele KMDA 7634 FR
Еще никто не задал вопрос о данной модели. Будьте первыми!
Задать вопрос
Доставка и подключение

Для техники Miele действуют особые условия доставки и подключения. В связи с ними магазин не предоставляет бесплатные услуги по транспортировке и установке независимо от суммы заказа.

Доставка крупной бытовой техники до подъезда составляет 2700 рублей в пределах МКАД (за один товар). За каждый следующий товар в заказе к стоимости добавляется 900 рублей. Стоимость доставки мелкой бытовой техники — 800 рублей.
Доставка за пределами МКАД рассчитывается исходя из расстояния: к базовой стоимости добавляется 35 рублей за каждый километр до адреса.

Специальные условия доставки

Транспортировка товара до места приема (внутри помещения) осуществляется только в упаковке и при соблюдении следующих условий: не понадобится перестановка мебели, снятие дверей с петель для заноса техники, демонтаж деталей товара для уменьшения его размеров. Размеры упаковки не должны превышать размеры лестничного марша, площадки, дверного проема.

В противном случае товар передается перед подъездом, перед дверью квартиры, либо в прихожей квартиры, в зависимости от того, где возникло препятствие.

Занос в подъезд на первый этаж стоит 500 рублей за единицу товара.

Если в вашем доме есть грузовой лифт, в котором возможно перевезти заказанный товар в упаковке, сообщите об этом при оформлении доставки. Стоимость подъема в таком случае составит 500 рублей. Если лифта нет или он не соответствует габаритам товара, необходимо отдельно оформить услугу «Подъем без грузового лифта»: она составляет 500 рублей/этаж.

Подключение осуществляется мастерами уполномоченных сервисных центров.

При оформлении заказа менеджер сообщит вам стоимость дополнительных услуг для данной модели, если они необходимы.

Услуга «Расширенная установка»

Помимо стандартной установки предоставляется:

  • возможность подключения всех типов приборов (кроме газовых варочных поверхностей);
  • возможность подключения в день доставки (если все коммуникации подготовлены, а у сервисной службы есть резерв на дату доставки);
  • возможность утилизации упаковки;
  • возможность утилизации техники.
Способы оплаты товара в интернет-магазине

Вы можете оплатить бытовую технику Miele наличными, банковской картой, онлайн-переводом, электронными деньгами или безналичным расчетом. Выберите удобный способ при оформлении заказа через корзину.

Если вы решите изменить первоначально выбранный метод оплаты, это можно сделать при подтверждении заказа менеджером. Обращаем ваше внимание, что некоторые товары требуют предоплаты — менеджер также предупредит об этом.

Самовывоз

Пункт самовывоза находится по адресу: МКАД, 47-й километр, 5с2. Забрать товар самостоятельно можно только после согласования с менеджером времени и оплаты.

Гарантия

На данный товар распространяется официальная гарантия производителя. Обслуживание в течение всего гарантийного срока осуществляется авторизованными сервисными центрами производителя в соответствии с требованиями, указанными в Законе РФ «О защите прав потребителей».
Обратите внимание: гарантийный срок и установленный производителем срок службы — это разные понятия. Изготовитель принимает на себя ответственность по устранению неисправностей, если не указано обратного.

ВАЖНО!
При получении обязательно осмотрите прибор: нет ли на нем механических повреждений, соответствует ли комплектация заявленной.

5
Доставка от 3 дней
Характеристики
  • Способ подключения: электрический
  • Ширина (см): 59.5
  • Объем (л): 76
  • Цвет: нержавеющая сталь
  • Очистка духовки: пиролитическая
  • Число режимов работы: 9
5
Доставка от 3 дней
Характеристики
  • Способ подключения: электрический
  • Ширина (см): 59.5
  • Объем (л): 76
  • Цвет: бриллиантовый белый
  • Очистка духовки: пиролитическая
  • Число режимов работы: 9
5
Доставка от 3 дней
Характеристики
  • Способ подключения: электрический
  • Ширина (см): 55.4
  • Объем (л): 76
  • Цвет: нержавеющая сталь
  • Очистка духовки: пиролитическая
  • Число режимов работы: 7
5
Доставка от 3 дней
Характеристики
  • Тип вытяжки : т-образная
  • Режимы работы: отвод
  • Количество скоростей: 3
5
Доставка от 3 дней
Характеристики
  • Тип вытяжки : встраиваемая
  • Режимы работы: отвод
  • Количество скоростей: 3
5
Доставка от 3 дней
Характеристики
  • Тип: встраиваемый
  • Вид: холодильник без морозильника
  • Ширина (см): 55.9
  • Количество камер: 1
  • Зона свежести: Да
  • Высота (см): 177
  • Дверной упор: справа
5
Доставка от 3 дней
Характеристики
  • Тип: встраиваемый
  • Вид: холодильник с морозильником
  • Ширина (см): 55.8
  • Количество камер: 2
  • Зона свежести: Да
  • Высота (см): 177.2
  • Дверной упор: справа
4.7
Доставка от 3 дней
Характеристики
  • Тип: встраиваемый
  • Вид: холодильник с морозильником
  • Ширина (см): 55.9
  • Количество камер: 2
  • Зона свежести: Да
  • Высота (см): 177
  • Дверной упор: справа
5
Доставка от 3 дней
Характеристики
  • Предназначение: для духовых шкафов, для варочных центров, для варочных панелей, для пароварок, для кофемашин, для микроволновых печей
Доставка от 3 дней
Характеристики
  • Предназначение: для варочных панелей

Обратите внимание:

Модель дороже
Отличия:
  • Есть функции:
  •   ‐ Функция определения диаметра посуды
  •   ‐ Функция восстановления настроек
  • Ширина: меньше на 0.59999999999999 см
  • Глубина: меньше на 0.6 см
  • Ширина встраивания: меньше на 3 см
  • Глубина встраивания: меньше на 1 см
  • Высота: меньше на 15 см
  • Габариты (ВхШхГ): 5.1х80х52 см
Модель дешевле
Отличия:
  • Нет функций:
  •   ‐ Функция объединения конфорок
  •   ‐ Функция re-Start
  • Ширина: меньше на 0.59999999999999 см
  • Глубина: меньше на 0.6 см
  • Страна производитель: Германия
  • Высота: меньше на 0.7 см
  • Габариты (ВхШхГ): 19.4х80х52 см
  • Размеры ниши для встраивания (Ш х Г): 78х50 см
Рейтинг лучших электрических варочных панелей 4 конфорки 2026 года по цене, качеству и надежности
Рейтинг лучших электрических варочных панелей 4 конфорки 2026 года по цене, качеству и надежности
Рейтинг лучших электрических варочных панелей 4 конфорки 2026 года по цене, качеству и надежности
Какой бренд варочной панели выбрать: Asko, Miele или Bosch
Какой бренд варочной панели выбрать: Asko, Miele или Bosch
Какой бренд варочной панели выбрать: Asko, Miele или Bosch
Обзор варочной панели Miele KM 6520 FL
Обзор варочной панели Miele KM 6520 FL
Обзор варочной панели Miele KM 6520 FL
Обзор варочной панели Miele KM 3010
Обзор варочной панели Miele KM 3010
Обзор варочной панели Miele KM 3010
Обзор панели газовых конфорок Miele KM 3054-1
Обзор панели газовых конфорок Miele KM 3054-1
Обзор панели газовых конфорок Miele KM 3054-1
Обзор индукционной варочной панели Miele KM 7464 FL
Обзор индукционной варочной панели Miele KM 7464 FL
Обзор индукционной варочной панели Miele KM 7464 FL
Обзор газовой панели Miele KM 3034-1
Обзор газовой панели Miele KM 3034-1
Обзор газовой панели Miele KM 3034-1
Варочные панели Miele: премиальное качество и технологии
Варочные панели Miele: премиальное качество и технологии
Варочные панели Miele: премиальное качество и технологии
Демо-режим варочной панели Miele
Демо-режим варочной панели Miele
Как использовать PowerFlex на индукционной варочной панели Miele
Как использовать PowerFlex на индукционной варочной панели Miele
Варочные панели Miele с функцией PowerFlex
Варочные панели Miele с функцией PowerFlex
Индукционные варочные панели Miele: CookAssist
Индукционные варочные панели Miele: CookAssist
ООО «ХАУСДОРФ»
+7 (495) 646-61-04
+7 (800) 333-10-52
shop@hausdorf.ru
Mo-Su 10:00-22:00
Россия
Московская область
Москва
Мичуринский проспект, 58к1, ТЦ «Любимый», 2 этаж
121609